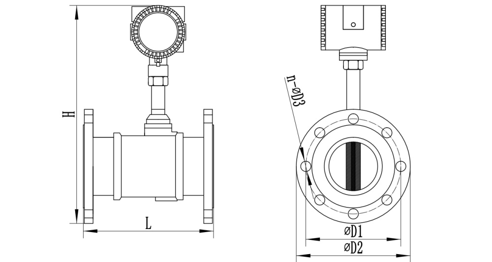
Flange Vortex Flow Meter Installation Requirements
The installation of vortex flow meter has higher requirements, to guarantee the better accuracy and working properly. Vortex flow meter installation should keep away from the electric motors, big frequency converter, power cable, transformers, etc.
Do not install in the position where there has bends, valves, fittings, pumps etc, which could cause flow disturbances and influence the measurement.
The front straight pipe line and after straight pipe line should follow below suggestion.
(1).jpg)
Concentric Reducers Pipeline |
(1).jpg)
Concentric Expansion Pipeline |
.jpg)
Single Square Bend |
(1).jpg)
Two Square Bends At Same Plane |
.jpg)
Two Square Bends At Different Plane |
.jpg)
Regulating Valve、Half-open Gate Valve |
Vortex Flow Meter Daily Maintenance
Regular cleaning: The probe is an important structure of the vortex flowmeter. If the detection hole of the probe is blocked, or is entangled or wrapped by other objects, it will affect the normal measurement, resulting in inaccurate results;
Moisture-proof treatment: most of the probes have not undergone moisture-proof treatment. If the use environment is relatively humid or is not dried after cleaning, the performance of the vortex flow meter will be affected to a certain extent, resulting in poor operation;
Minimize external interference: strictly check the grounding and shielding conditions of the flow meter to ensure the accuracy of the flow meter measurement;
Avoid vibration: There are some parts inside the vortex flowmeter. If strong vibration occurs, it will cause internal deformation or fracture. At the same time, avoid the inflow of corrosive liquid.